おかげさまで開設25周年RELOSERVICE.PL 創業祭

RELOSERVICE.PL

詳しくはこちら
マイストア マイストア 変更
  • 即日配送
  • 広告
  • 取置可能
  • 店頭受取

HOT ! ぶーページ Genuine OEM Parking Aid Control Module for Nissan 284B6ZE03B

※RELOSERVICE.PL 限定モデル
YouTuberの皆様に商品の使い心地などをご紹介いただいております!
紹介動画はこちら

ネット販売
価格(税込)

6322

  • コメリカード番号登録、コメリカードでお支払いで
    コメリポイント : 3ポイント獲得

コメリポイントについて

購入個数を減らす
購入個数を増やす

お店で受け取る お店で受け取る
(送料無料)

受け取り店舗:

お店を選ぶ

近くの店舗を確認する

納期目安:

13時までに注文→17時までにご用意

17時までに注文→翌朝までにご用意

受け取り方法・送料について

カートに入れる

配送する 配送する

納期目安:

2025.12.17 3:15頃のお届け予定です。

決済方法が、クレジット、代金引換の場合に限ります。その他の決済方法の場合はこちらをご確認ください。

※土・日・祝日の注文の場合や在庫状況によって、商品のお届けにお時間をいただく場合がございます。

即日出荷条件について

受け取り方法・送料について

カートに入れる

欲しいものリストに追加

欲しいものリストに追加されました

ぶーページ Genuine OEM Parking Aid Control Module for Nissan 284B6ZE03Bの詳細情報

Genuine OEM Parking Aid Control Module for Nissan 284B6ZE03B。2846 W Border Links Drive, Visalia, CA 93291 | Zillow。Bush Hog 2846 QT Front End Loader Parts Diagrams。ぶーページです。クリスマスツリーとオーナメントセット。。2846 Tiburon BLVD E #101, Naples, FL 34109 | Zillow。 ご購入いただいてから発送までに1週間程いただきます。 大5個、小3個+送料で、10900円でお願い致します。専用!【展示品】スタジオクリップ クリスマスツリー
  • Genuine OEM Parking Aid Control Module for Nissan 284B6ZE03B
  • 2846 W Border Links Drive, Visalia, CA 93291 | Zillow
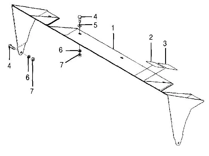
  • Bush Hog 2846 QT Front End Loader Parts Diagrams
  • 2846 Tiburon BLVD E #101, Naples, FL 34109 | Zillow

同じカテゴリの 商品を探す

ベストセラーランキングです

このカテゴリをもっと見る

この商品を見た人はこんな商品も見ています

近くの売り場の商品

このカテゴリをもっと見る

カスタマーレビュー

オススメ度  4.3点

現在、2843件のレビューが投稿されています。